石材安装的6种工艺做法,都在这了!
栏目:业界资讯 发布时间:2023-04-18

dop设计(ID:dopdesign)原创

作者丨东晓

编辑丨那兰

在往期dop设计的分享中,我们曾多次系统解剖过关于装饰石材及石材工艺的设计要点。这次,我们针对石材应用过程中常规做法遭遇困难时的解决方案进行探讨,主要会涉及到如下问题:

1、石材有几种常规工艺做法?

2、常规做法满足不了设计需求时,怎么办?

3、与常规工艺相比,“石材新工艺”有哪些优势?

石材有几种常规工艺做法?

我们一般将石材安装的工艺做法, 分为[湿贴]、[湿挂]、[干挂]、[干粘] 4种。

我们在往期内容中,已经详细解析过了,今天咱们先来回顾一下,在建立石材工艺知识体系的情况下,再进行更深入的讨论

1、湿贴法

「湿贴」是指用水泥砂浆或胶泥作为石材粘接剂,基层用水泥类材料打底,再粘贴石材的做法,如上图所示;

湿贴的工艺做法,比较节约空间,而且造价相对低廉,是室内空间中安装石材运用最多的工艺做法,也是唯一用于地面的石材安装做法

2、湿挂法

「湿挂」是指石材基层用水泥砂浆作为粘贴材料,先挂板后灌砂浆的石材安装方法,就如上图所示。

湿挂的做法费工费料成本高,而且适用范围还有限,所以,几乎在现在的室内空间已经看不见了。

3、干挂法

「干挂」是指基层搭接钢架,与墙面产生结构连接,再通过干挂件固定石材,就如上图所示,

干挂的做法,完成面较厚,比较浪费空间,多应用于室内大面积的石材安装。造价较高。

4、干粘法

「干贴」是指用干粉型粘结剂作为粘贴材料,基层为水泥类材料或其他类型材料打底,再粘贴石材的做法,通常又称「胶粘」,如图所示;

干粘的做法对安装高度有要求,不能够大面积安装,且抗震性差,造价比湿贴高,多应用于吧台,服务台等家具石材饰面的安装。

针对石材安装的几种常规工艺做法,相信你已经有了足够的认识。

篇幅关系,关于更多的石材的工艺节点、安装流程、设计通病、设计把控要点、图纸表达等系统知识的学习,强烈推荐阅读《室内设计实战指南》工艺材料篇

△来源于百万设计师阅读的设计落地专栏

常规做法满足不了设计需求时,怎么办?

以上4种常规工艺,能够解决所有石材安装问题吗?

答案当然是否定的,石材安装的常规工艺做法,具有通用性和普遍适用性,但是面对某些特殊空间并不能够完全满足设计要求。

例如:高端酒店or办公楼的电梯厅,通常会有较高的层高,而且对完成面的要求通常会比较小。

考虑到安装方式,需要采用干挂法,但常规的干挂法又很难兼顾到完成面的设计要求。

当碰到对完成面尺度有要求,但又要确保石材安装牢固性的时候,我们就需要在常规工艺做法的基础上,针对设计提出的具体要求,设计新的工艺做法。

接下来,有2种新的墙面石材安装工艺做法分享给你:

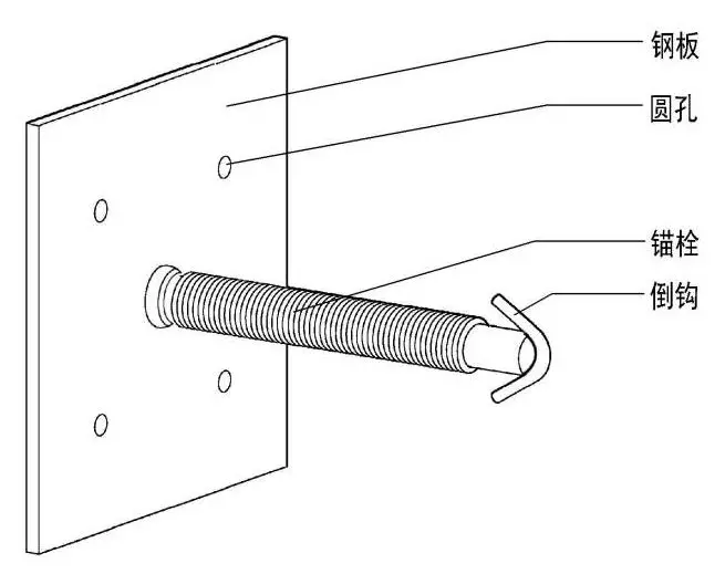
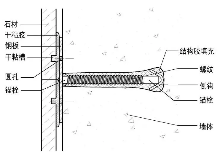
1、墙面石材钢板干粘工艺

构造解析:

骨:钢板+锚栓

肉:未经打磨的石材

皮:石材的表面处理形式

施工流程:

a、先将基层处理平整,在4块石材的分缝交点位置,打一个圆孔,再将结构胶填入圆孔内。

b、将锚栓-钢板焊接为一个整体,然后将这个结构构件植入圆孔,与墙面产生结构连接。

c、再将粘贴至钢板位置的石材背面杂物以及钢板上的锈斑清理干净,将石材利用专用干粘胶直接粘在钢板上,并用云石胶临时固定。

Ps:这一步的清理工作十分重要,关系到整个施工质量的问题,处理不当石材容易出现脱落。

d、石材背面开一小槽,增强石材和胶之间的剪切力,钢板在粘贴石材位置钻有一圆孔,圆孔内充满干粘胶,增强干粘胶和钢板之间的剪切力。

e、钢板和锚栓通过焊接连接,锚栓通过和墙体内的结构胶和墙体固定牢固,自身的螺纹增强和结构胶之间的握裹力,倒钩的设置增强和墙体之间的固定,防止锚栓被拉出墙体之外。

是不是跟上面提到的「干贴」有异曲同工之妙?为了便于记忆,我把这种方式称之为“钢板点粘”

2、墙面石材锚栓干挂工艺

构造解析:

骨:挂件+锚栓

肉:未经打磨的石材

皮:石材的表面处理形式

施工流程:

a、首先将基层处理平整。

b、按照石材排版图,在墙面放线,在每块石材的分缝位置打入锚栓挂件。

c、在石材背面开小槽,通过干挂的形式安装石材。

工艺特点:

使用的干挂件少,基层厚度得到控制,完成面厚度足以满足绝大多情况下的设计要求。

且使用的干挂件少,极大地简化了施工,人工成本和时间成本都得以减少。总的来说,施工便捷性增加,施工成本降低。

石材新工艺有哪些优势?

以上介绍的2种墙面石材工艺做法,聚焦石材运用场景的问题,解决了石材常规工艺做法的一些不足。在此对比常规工艺做法,我列出了4点墙面石材新工艺做法的优势。

1、节省横竖龙骨钢材,施工工艺减少,成本降低

2、现场无焊接工艺,减少安全隐患

3、石材厚度可以更薄,从而控制成本

4、石材安装空间减少,室内有效空间变大

希望下次你再碰到“对完成面尺度有要求”的空间时,还记得有这2种新方式可以解决问题。

好了,总结下本文探讨的内容,通过本报:我们知道了除了在dop设计前面探讨的“干挂”“湿贴”“干贴”“湿挂”这4大常规的石材上墙方式外,还可以通过新型的“锚栓干挂”“钢板点粘”的方式来实现落地。

更多有关“新材料”“新工艺”的话题,推荐你扫码学习徐发章老师分享的《室内新型材料指南》

水纹不锈钢、透光混凝土、夯土板、微水泥.....3小时,快速了解当下流行的各种新材料特性和用法案例,让你的设计用材跟上时代。

ps:会员免费看哦~

下面,还是用一张导图来总结一下今天的内容:

△点击保存,欢迎转发分享

△文中部分图片源于网络,如有侵权,请联系小编~

-End-

欢迎转发文章到朋友圈

更多设计专业知识,小伙伴们点击阅读原文即可。

 ↓↓↓